FX241.5P Fixed-Angle Polypropylene Rotor with Snap-on Lid- 24 x 1.5/2.2 mL, 14,800 rpm, 16,163 x g

Product No:A46475

FX241.5P Rotor, Fixed Angle, Polypropylene with Snap-on Lid, 24 x 1.5/2.2 mL, 14,800 rpm, 16,163 x g; Major applications: Fast pelleting or isolation of DNA, RNA, proteins and viruses. For use in Microfuge 16.

Product Specifications

Platform Microfuge
Rotor Type Fixed-Angle (General Purpose)
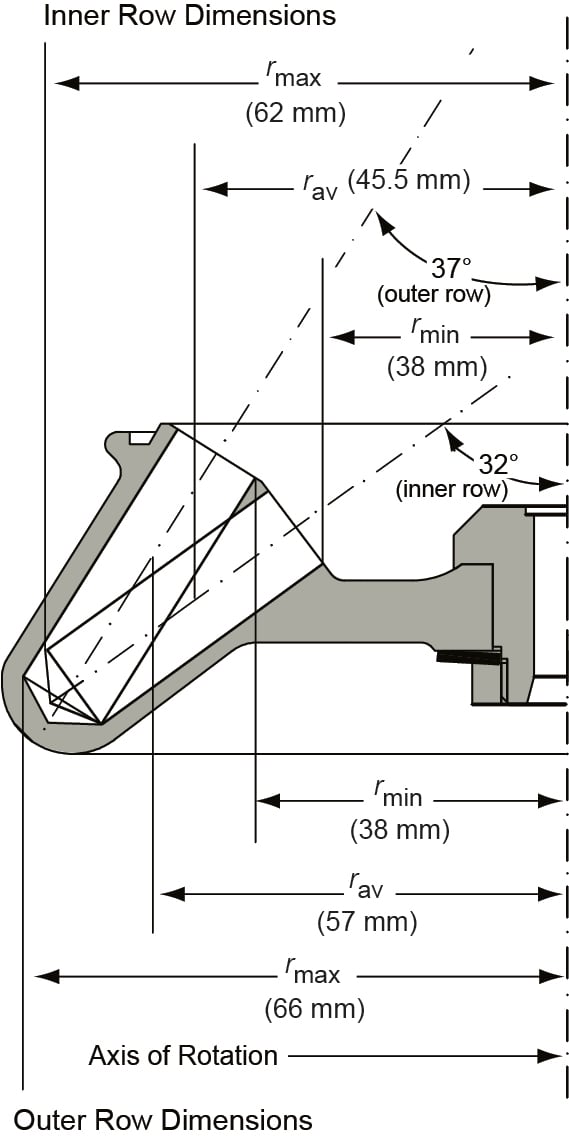
Angle 37/32
Maximum RPM 14,800 rpm
Max g-Force 16163 xg
Adapters 361247, 364690, 392294
Number of Tubes 11 x 40 mm, 24 x 1.5-2.2 mL
Nominal Capacity 52.8mL
rMAX 66
rMIN 30
rAV 52 mm (outer row), 48 mm (inner row)
Materials Polypropylene
Package Quantity 1